欢迎来到东莞市唐朝环保科技有限公司官网!
在线咨询
|
收藏网站
年专业解决环境污染问题
专业为您解决环境污染问题,提供一站式环保服务
免费咨询热线:
0769-21684546
网站首页
关于我们
企业文化
合作伙伴
荣誉资质
环评报告
环保管家服务
环保验收
排污许可证
成功案例
环保新闻
公司新闻
行业新闻
常见问题
联系我们
产品中心
东莞VOCs废气治理
东莞废气治理
东莞废水治理
东莞粉尘治理
东莞噪声治理
环评报告编写
环保治理工程
环保验收
排污证
环保监测
危险废物转移
环保设备及耗材
免费咨询热线
0769-21684546
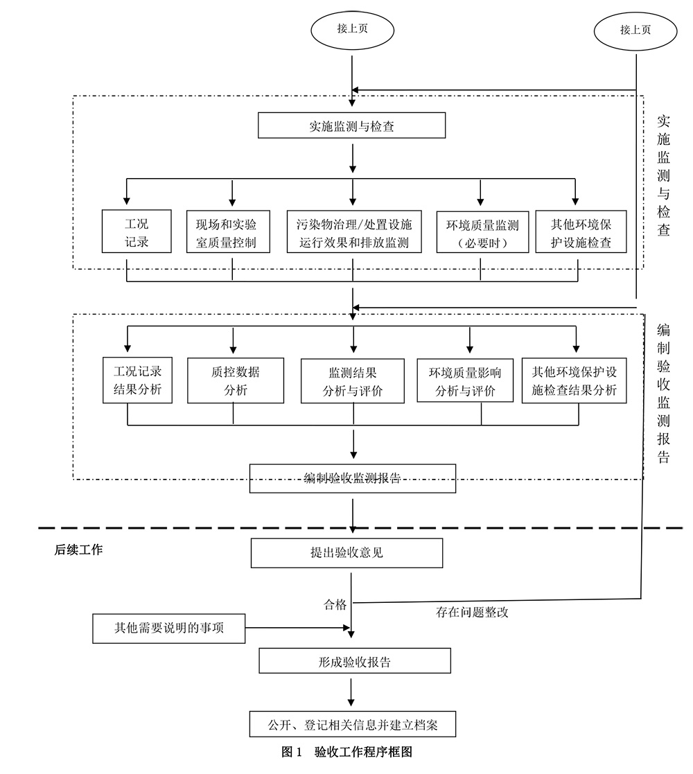
环保验收
您的位置:
首页
>
环保验收